CPN无堵塞化工碱泵
详细说明:
一、产品概述
CPN碱泵适用于氯碱、纯碱产业,医学、化肥、农药产业,石油、化工、化纤、造纸产业, 染料产业,环保工程及水处理系统,用来输送含有固体颗粒,易结晶的介质。耐高温,使用时需加冷却水。CPN泵特点效率高,能耗小, 抗腐蚀性能强,工作范围大,适应性强。泵的旋转方向:从驱动端看泵,顺时针方向旋转。 在检验折卸叶轮与轴封时,CPN这种后开门式结构的泵毋须将与泵体相联的管路和电动拆开,维修简单便利,是文明工厂的理想设备。
二、产品特点
1、在泵体上铸有支脚,可承受来自管路的任何载荷并直接传给基础,这样泵转子不会因泵承受载荷而产生弯曲,从而保证了轴承和机械密封有较佳的使用寿命。
2、装有经由精密加工高刚度的泵轴,装有稀油润滑的轴承,轴承体的油位用油尺来测量,可靠实用易行。 泵设计有轴向间隙调整机构,可降低磨损对泵性能的影响。
3、叶轮开式结构,抗腐蚀性能好,不易堵塞。
4、填料密封和单双端面机械密封;有内外装式和平衡、非平衡型结构。
5、动力配套采用Y型普通电机或YB型防爆电机。
三、零部件材质
ZG1Cr18Ni9、 ZG1Cr18Ni9Ti、ZGOCr18Ni12MO2Ti 、 ZG1Cr18Ni12MO2Ti、ZG00Cr14Ni14Si4、ZG00Cr18Ni10 、ZGCr28 、ZG1Cr18Mn13MO2 以及316、316L、Monelt等。
四、技术参数
流量Q:1.6~400m3/h ;
扬程H:5~125m(m);
电压:380 V ;
压力:≤1.6MPa ;
工作温度20~+150℃;
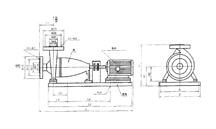
五、产品结构图

六、选型参数表


七、订货说明
订货须知:
一、您在订购产品时需提供流量(Q)、扬程(H)、及介质等。并指出介质的易燃性、易爆性、毒性、腐蚀性、结晶性及是否允许封液渗入介质内。
二、若您对原动机有特殊要求时,应说明应用现场条件,环境温度、安装地点及类别(防爆、防火等要求)电压大小等。
三、当使用的场合非常重要或环境比较复杂时,请您尽量提供设计图纸和详细参数,由我们沁泉泵阀的技术专家为您审核把关。
四、泵经过长期运行后性能有显著下降时应拆机检查,并更换易损件(轴承、叶轮、叶轮密封环、导叶套、轴封等)。机组大修期一般为一年。
五、泵每运行500小时应对轴承进行加油。
六、配填料型密封而产生的漏水属正常现象。
八、安装注意事项
注意事项:1
应往轴承箱内加注润滑油,油量应控制于油窗中间水平面。
注意事项:2
开车前用手盘动联轴器,有无在安装过程中产生卡死现象如有碰擦异常应予消除。
注意事项:3
起动前先接通冷却冲洗液,停车时应先停车再关闭冷却冲洗液。
注意事项:4
冷却冲洗液必须是干净的不结垢的软水,因此对新安装的管路和储蓄罐应冲洗干净。防止有固体物质进入机械密封影响密封效果和寿命。易结垢的水质会堵塞冷却冲洗液通路。同样会影响密封的使用效果和寿命。
注意事项:5
用冷凝水作密封冲洗液效果是理想的,温度<85℃。
注意事项:6
冷却冲洗液的压力为0.1~0.3MPa,流量为0.63m3/h,流量过小会影响密封的使用寿命。
- 上一篇:ZE高温高压石油化工流程泵
- 下一篇:AY型单级单吸化工油泵

